
TQA2004
FLOATING HOUSE
Tisza Lake
2020
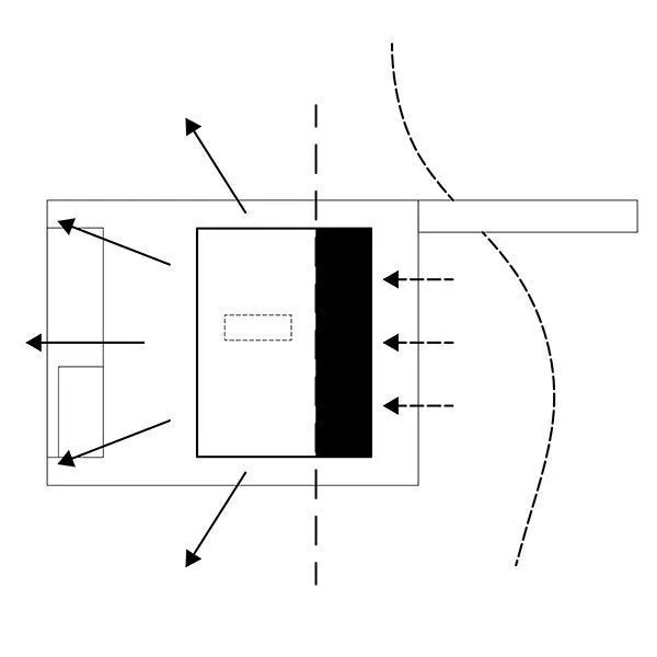
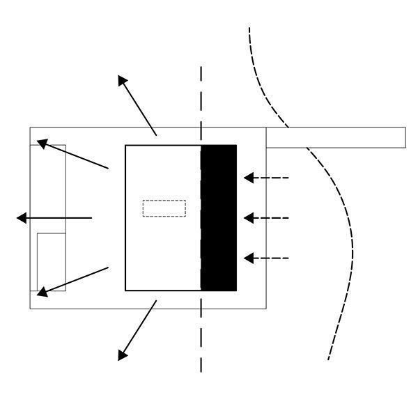
house - plan
The floating houses designed on Lake Tisza serve families hiding away in nature for weeks. The main activity is fishing. All the spaces are open to the lake. A solid, closed block - with the bathrooms, mechanicals and stairs - hides the living area from the unwanted eyes. The houses are floating on the water, except the power generator placed on the shore.















